返回>>
200KHz/50KHz常規型水聲換能器(DYW-200-50F)
名稱:200KHz-50KHz測深探魚換能器
型號:DYW-200-50F
量程:200KHz 0.6~120m 50KHz 3~500m
工作溫度:-40~+80℃
頻率:200KHz±5%/50KHz±5%
工作電壓:峰值電壓<1500Vpp
本產品適用于:水下探魚、測距等

產品詳情
一、換能器的主要技術指標
項目 | 技術指標 | 實物圖片 |
名稱 | 200KHz-50KHz測深探魚換能器 |
|
型號 | DYW-200-50F | |
頻率 | 200KHz±5%/50KHz±5% | |
建議量程 | 200KHz 0.6~120m 50KHz 3~500m | |
最小阻抗 | 50KHz:180Ω±20%;200KHz:210Ω±20% | |
電容量 | 50KHz:3200pF±20% @1KHz 200KHz:3200pF±20% @1KHz | |
靈敏度 | 探頭驅動電壓:500Vpp、距離:0.7m、 回波幅度:2.5 V(50KHZ);2.5 V(200KHZ) | |
工作電壓 | 峰值電壓<1500Vpp | |
工作溫度 | -40~+80℃ | |
壓力 | ≤10公斤或者1MPa | |
角度 | (波束寬度)半功率角@-3dB:8.7°±10%, 銳度角:20.5°±10%(200KHZ) (波束寬度)半功率角@-3dB:35.3°±10%, 銳度角:90.7°±10%(50KHZ) | |
外殼材質 | 黃銅+ABS | |
用途 | 水下探魚、測距等 | |
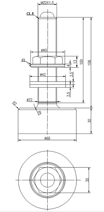
安裝尺寸 | 詳見產品結構圖 | |
防護等級 | IP68 | |
重量 | 1110g±5%(線長:10m) | |
接線說明 | (三線):紅:換能器+、綠:溫度傳感器+、黑:公共-; |
二、換能器的導納曲線圖
三、換能器產品結構圖
上一條
DYW-300-50AC魚探儀換能器
下一條
200KHz/50KHz常規型水聲換能器(DYW-200-50FA)
QQ:2187169532
手機:18050180580
郵箱:2187169532@qq.com
地址:福建省福州市晉安區福興經濟開發區紅光路11號E座