返回>>
15KHz水平無方向性柱形水聲換能器(DYW-15-G)
名稱:15KHz水平無方向性柱形水聲換能器
型號:DYW-15-G
工作溫度:-40~+80℃
頻率:15KHz±5%
工作電壓:峰值電壓<450Vpp
本產品適用于:超聲波流量計,水下測距儀

全國熱線
0591-28082552
產品詳情
一、換能器的主要技術指標
項目 | 技術指標 | 實物圖片 |
名稱 | 15KHz水平無方向性柱形水聲換能器 | |
型號 | DYW-15-G | |
頻率 | 15KHz±5% | |
最小阻抗 | 65Ω±20% | |
電容量 | 71000pF±20% @1KHz | |
靈敏度 | 1.5V(一發一收) | |
工作電壓 | 峰值電壓<450Vpp | |
工作溫度 | -40~+80℃ | |
壓力 | ≤10公斤或者1MPa | |
角度 | 水平無方向 | |
外殼材質 | POM | |
用途 | 超聲波流量計,水下測距儀 | |
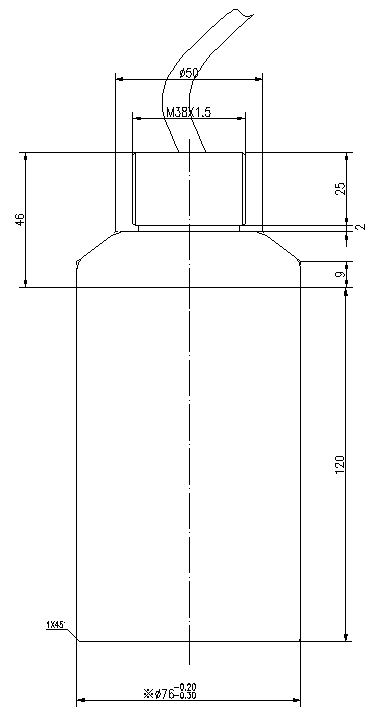
安裝尺寸 | 詳見產品結構圖 | |
防護等級 | IP68 | |
重量 | g±5%(線長:2m) | |
接線說明 | 藍:換能器+,黑:換能器-,黃:屏蔽線;(默認不帶溫度傳感器) |
二、換能器的導納曲線圖
三、換能器產品結構圖
上一條
DYW-80-G水平無方向性柱形水聲換能器
下一條
暫無~
產品中心
聯系我們
全國咨詢熱線:0591-28082552
QQ:2187169532
手機:18050180580
郵箱:2187169532@qq.com
地址:福建省福州市晉安區福興經濟開發區紅光路11號E座